Виды и основные размеры умывальников.
Установка и подключение умывальников навесных,
умывальников на подставке-пьедестале,
умывальников рядом с ванной.
1. Выбор умывальников.
Сантехнические изделия представлены великолепным выбором от керамических до мраморных вариантов различных форм и цветов:
- 
            умывальники на подставке "ножке", со скрытыми в ней подводящими трубами коммуникаций, 
- 
            умывальники на чугунных кронштейнах с настенными креплениями, 
- 
            умывальники в старинных стилях на столешницах, 
- 
            умывальники простые односекционные и двухсекционные, 
- 
            умывальники, встроенные в мебель. 
|  |  | 
Формы, цвет и фактура материалов дают большой выбор вариантов и композиций монтажа сантехники.
2. Типы и основные размеры умывальников.
Санитарные керамические умывальники изготавливают следующих типов:
- 
            умывальники полукруглые, умывальники овальные, прямоугольные, трапециевидные со спинкой или без спинки; 
- 
            умывальники угловые со спинкой или без спинки и с переливом или без перелива, со срезанным углом; 
- 
            умывальники хирургические и парикмахерские без спинки. 
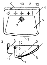
Элементы умывальника:
|  | 1 - передний борт; 2 - задняя стенка; 3 - арматурная панель; 4 - углубление для мыла (мыльницы); 5 - чаша; 6 - наружная стенка изделия; 7 - отверстие для стока (внутри); 8 - отверстие для стока (снаружи); 9 - переливной канал; 10 - переливное отверстие (перелив); 11 - опорное ребро; 12 - монтажные отверстия; 13 - отверстия для арматуры. | 
Основные размеры полукруглых, овальных, прямоугольных и трапециевидных умывальников приведены в таблице 1 и на рисунке ниже.
Таблица 1.
| 
 |  | ||||||||||||||||||||||||||||||||||||
Полукруглые, овальные, прямоугольные и трапециевидные умывальники изготавливают с отверстиями в полочках для установки смесительной арматуры или без них.
3. Установка навесного умывальника
(на металлических кронштейнах).
Умывальники устанавливают на чугунные кронштейны, которые монтируют на стену (на шурупах, болтах или методом пристрелки).
На предварительно размеченную стену устанавливают два кронштейна на расстоянии, соответствующем размеру между крепежными отверстиями умывальника.
ВНИМАНИЕ!
Ошибаться при креплении умывальника нельзя, иначе он будет "болтаться".
Умывальник устанавливают на кронштейны и закрепляют его задний борт скобой или иным способом, обеспечивающим нагрузку на передний край не менее 1,5 кН (150 кгс) от опрокидывания.
3.1. Состав работ
(технология) установки умывальника навесного.
Для установки умывальника выполняются следующие работы:
1) разметка мест установки прибора и отверстий (по шаблону) для крепления кронштейнов;
2) сверление или пробивка отверстий для постановки средств крепления с забивкой деревянных пробок или с креплением при помощи строительно-монтажного пистолета (6 отверстий или дюбелей);
3) установка и крепление 2-х кронштейнов с креплением 6 шурупами (дюбелями);
4) перед установкой умывальника на кронштейны сливное отверстие под сифон и сверху и снизу защищают резиновыми кольцами - прокладками для уплотнения стыка водосливного отверстия;
5) присоединяют к раковине (через кольца-прокладки) гидравлический затвор-сифон бутылочного типа;
6) закрепляют умывальник на кронштейны, при установке тщательно следить за тем, чтобы верхний выступающий штифт кронштейна плотно входил в отверстие нижней плоскости борта умывальника;
7) присоединяют к сифону выпуск канализационной трубы;
8) на выпуск канализационной трубы надевают уплотнительное резиновое кольцо (оно служит гидроизоляцией и фиксирует выпуск трубы в раструбе канализационной системы);
9) выпуск канализационной трубы вставляют в раструб и опускают кольцо (с трубой выпуска) до упора в раструб до полной фиксации трубы в системе.
 
        Расстояние от поверхности штукатурки или облицовки до оси неизолированных трубопроводов при открытой прокладке должно составлять:
- 
            при диаметре условного прохода труб до dу=32 мм включительно - от 35 до 55 мм; 
- 
            при диаметрах труб dу=40-50 мм - от 50 до 60 мм; 
- 
            при диаметрах труб более dу=50 мм - принимается по рабочей документации. 
4. Установка умывальника
на подставке-пьедестале на болтах.
На предварительно размеченную стену устанавливают два болта на расстоянии, соответствующем размеру между крепежными отверстиями на задней установочной поверхности умывальника.
Умывальник устанавливают на пьедестал и закрепляют на болтах к стене.
Крепление должно обеспечивать нагрузку на передний край умывальника не менее 1,5 кН (150 кгс) от опрокидывания.
Технология подключения и установки выполняется как и для навесного умывальника. Отличие только в том, что после установки и подключениязакрывают канализационный сифон с выпуском опорной подставкой умывальника под раковину, совмещая установочную поверхность умывальника с подставкой.
5. Установка умывальника рядом с ванной.
Для монтажа раковинырядом с ванной надо выполнить разметку места установки умывальника, таким образом, чтобы борт умывальника перекрывал борт ванны на 120-150 мм (смотрите схему установки сантехники).
Это необходимо для случаев, когда для ванны и умывальника устанавливается общий смеситель воды (во избежание попадания воды на пол).
Высоту установки следует принимать:
- 
            для туалетных кранов и смесителей - расстояние от горизонтальной осидо бортов умывальников - 200 мм; арматуры 
- 
            для смесителей общих для ванн и умывальников - расстояние от уровня чистого пола до оси арматуры - 1100 мм. 
Санитарно-технические приборы, такие как умывальники, в конструкции которых нет гидравлических затворов, при присоединении к бытовой или производственной канализации следует оборудовать гидравлическими затворами (сифонами), располагаемыми на выпусках под приборами.
ВНИМАНИЕ!
До испытаний систем канализации в сифонах (в целях предохранения их от загрязнения) должны быть вывернуты нижние пробки, а у бутылочных сифонов - стаканчики.
Резка и укорачивание фасонных частей запрещаются.
Сборка раструбных соединений производится путем введения гладкого конца трубы или хвостовика фасонной части в раструб второй детали до монтажной метки.
Расстояние от торца гладкого конца трубы (или хвостовика фасонной части) до монтажной метки должно составлять:
- 
            для труб и фасонных частей диаметром d=36 мм расстояние - 50 мм; 
- 
            для труб и фасонных частей диаметром d=47 мм расстояние - 110 мм. 
 
        Для присоединения отводных труб диаметром d=40 мм от пластмассовых сифонов умывальников, моек и других санитарных приборов к трубным изделиям диаметром d=50 мм рекомендуется применять специальные резиновые переходные манжеты.
Допускается использование иных уплотнительных манжет, качество которых подтверждено соответствующими документами.
Перед заделкой стыков концы труб и раструбы должны быть очищены от грязи.
Стыки чугунных канализационных труб должны быть уплотнены пропитанным пеньковым канатом или пропитанной ленточной паклей, с последующей заливкой гипсоглиноземистым расширяющимся цементом или другими уплотнительными и заполняющими стык материалами.
Источник: http://www.camremont.ru/docs/3_100/6-2/6-2-3.html
| Всего комментариев: 0 | |
 
  
  
      
 
                         
                         
                         
                         
                         
                         
                         
                         
                         
                         
                         
                         
                         
                        