Каркасно-обшивные перегородки состоят из: обвязки; стоек; обшивки.
В качестве каркаса перегородки применяют хорошо просушенные деревянные бруски, изготовленные по заданным размерам, или специальные стальные оцинкованные профилированные элементы. К стальным элементам облицовочные и теплоизоляционные плиты крепят с помощью винтов или болтов. Перегородка должна быть звуконепроницаемой и выдерживать вес крепящейся к ней арматуры. Перегородка может также выполнять функции несущей конструкции. Для несущей перегородки используют деревянные элементы сечением не менее 100х50 мм. Минимальная толщина ненесущих перегородок 45 мм, высота до 2600 мм. Несущая перегородка всегда опирается на фундамент или опорную балку, ненесущие перегородки могут быть расположены в любом месте и опираться непосредственно на поверхность пола.


Рис. 2. Облегченная перегородка с каркасом:

Рис. 3. Перегородка с металлическим каркасом:
Соединение ненесущих перегородок и стен с конструкцией верхнего перекрытия выполняют таким образом, чтобы кровельная конструкция, прогибающаяся под воздействием давления снега или других нагрузок, не опиралась на стены и перегородки толщиной менее 68 мм, а конструкция места соединения позволяла бы выдерживать возможный прогиб перекрытий. В простенок может быть встроена мебель.

Рис. 4. Встроенная мебель в простенке:
Звукоизоляцию перегородок санузла и входного тамбура можно улучшить с помощью специальной теплоизоляции, а также увеличением ее толщины, применяя, например, в качестве обшивки многослойную и более тяжелую облицовочную плиту.

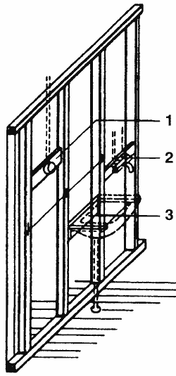
Рис. 5. Расположение в простенке систем тепло-, водо- и электроснабжения:
Для установки оборудования, связанного с отоплением, вентиляцией и водопроводом, и прокладки электротехнической и другой специальной арматуры необходимо поставить дополнительный каркас, прежде чем выполнять работы по креплению облицовки.
Нужен ваш плюс статье!Источник: http://www.mensh.ru/karkasnaya_peregorodka
| Всего комментариев: 0 | |
 
  
  
      
 
                         
                         
                         
                         
                         
                         
                         
                         
                         
                         
                         
                         
                         
                        