Меню сайта
          
          
        
            Категории раздела
          
          
        
            Найдите на сайте
          
          
        
            Наш опрос
          
          
        
            Наши посетители
          
          
        
            Новости мастерской
          
          
        
            Сегодня на форуме
          
          
        | 
 
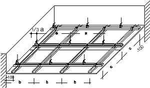
 Инструменты для работы с гипсокартоном Вы узнаете с какими инструментами надо работать, которые можно легко купить в хозмаге Рекомендуемые размеры между профилями и саморезами Размеры между профилями в зависимости от толщины гипсокартона, а также массы материала дополнительно прикрепленного, и между саморезами Ломанные формы гипсокартонных листов Значительно расширить диапазон решаемых задач, стоящих перед архитектором и проектировщиком можно применив технологии, основанной на использовании гипсокартонных листов ТИГИ КНАУФ с V-образными пазами Как сделать арку и изогнутые формы+2видео При изготовлении изогнутых форм главным образом используются гипсокартонные листы шириной не более 600 мм, при этом минимальный радиус гибки листа толщиной 12,5 мм составляет около 1000 мм. Дизайнерские потолки из гипсокартона+видео Как сделать потолок лучше и главное дизайнерскии красиво лучше? Рекомендуется создать потолок из гипсокартона. Во-первых, монтаж его прост в выполнение. Во-вторых, это идеальная ровная поверхность. И в-третьих, дизайн потолков из гипсокартона настолько разнообразен и может ограничиваться только вашей фантазией. Монтаж потолка из гипсокартона своими руками+2видео а данной странице сайта вашему вниманию предоставляется инструкция по монтажу потолка из гипсокартона. Для начала необходимо выполнить разметку проектного положения подвесного потолка по периметру помещения на стенах с помощью уровня, длинна которого должна быть не менее 1.5 метра, гидроуровня, шнуроотбойного устройства. Способы монтажа одноуровневых и многоуровневых потолков+видео Существует несколько способов монтажа гипсокартона Достоинство
 Способы оброботки и заделки швов
 Книга "Гипсокартон. Шаг за шагом" Название: Гипсокартон. Шаг за шагом: Энциклопедия современного ремонта Автор: Л.Н. Смирнова Год: 2007 Страниц: 384 Формат: DJVU Размер: 4.04 Мб Качество: хорошее Язык: русский 
                                      1-10 11-20
                                     | 
 
  
  
      
 Гипсокартон имеет несколько преимуществ. Его применение позволяет достичь очень ровной поверхности. Все мыпрекрасно знаем, что потолки в наших домах никак нельзя назвать ровными, в некоторых случаях перепады могут достигать 8 и даже 10 сантиметров! Он позволит скрыть все трещины и не ровности потолка, кроме всего монтаж гипсокартона прост и не займёт много времени.
Гипсокартон имеет несколько преимуществ. Его применение позволяет достичь очень ровной поверхности. Все мыпрекрасно знаем, что потолки в наших домах никак нельзя назвать ровными, в некоторых случаях перепады могут достигать 8 и даже 10 сантиметров! Он позволит скрыть все трещины и не ровности потолка, кроме всего монтаж гипсокартона прост и не займёт много времени. До начало установки гипсокартонных листов вам необходимо ознакомиться со способами его обработки. В данной статье представлены способы обработки гипсокартона, а также вы можете посмотреть вариант заделки швов между гипсокартонными листами.
До начало установки гипсокартонных листов вам необходимо ознакомиться со способами его обработки. В данной статье представлены способы обработки гипсокартона, а также вы можете посмотреть вариант заделки швов между гипсокартонными листами.