Расход материалов.
1. Водоотвод дождевых стоков.
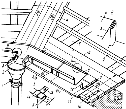
Отвод дождевой воды и воды, образовавшейся от таяния снегов, с крыши дома выполняется через желоба и водосточные трубы.
Желоба бывают настенные и навесные.
Настенные желоба выполняются по металлической кровле или металлическим свесам кровли с уклоном к воронке водосточных труб.
Навесные желоба выполняют отдельными лотками из кровельной стали с последующим соединением их в желоб и креплением на крючьях под стоком воды с кровли.
Чаще всего настенные желоба устраивают на крышах с большими площадями покрытия, крышах сложных с криволинейными поверхностями (сводчатых, конусообразных и т.д.).
Настенные желоба должны быть высотой от 150 до 200 мм, в зависимости от площади водосбора (площади ската крыши) и расстояния между водосточными трубами.
Верхние кромки желобов обделывают отворотной лентой.
 
        Навесные желоба обычно устраивают на малых крышах. "Малыми крышами" считаются крыши на отдельных строениях, а также крыши одного строения, лежащие в разных уровнях и не соединенные между собой материалом покрытия.
Лотки желобов должны иметь ширину 105-215 мм в нижней и 160-226 мм в верхней части лотка.
Верхние кромки оканчиваются отворотной лентой. Хвостовая часть лотка, подходящая под желоб, прошивается гвоздями к воронке стока.
 
        Крючья, к которым крепят желоба, располагают на расстоянии не менее 700 мм один от другого.
Листы желобов соединяют между собой и с рядовым покрытием кровли (если кровля или карнизный свес кровли выполнены из металлического листа) двойными лежачими фальцами, промазывая швы суриковой или битумной замазкой.
Трубы, отводящие воду с кровли, подвешивают вертикально на расстояние не менее 120 мм от стены.
Выпускные отверстия труб располагают не выше 400 мм над уровнем тротуара (отмостки).
Нижнюю часть звена труб на расстоянии 50-60 мм от конца обделывают буртиком, что позволяет увеличивать жесткость труб и предотвратить их смещение вниз.
Вертикальные швы труб выполняют лежачими фальцами шириной не более 10 мм с высадкой.
Внимание!
В межэтажных карнизах и поясках устраивают отверстия для прохода труб. Обход этих выступающих частей с помощью колен следует допускать как исключение.
Стремена, которыми трубы крепятся к стене, располагают на стыках звеньев труб.
Выпускные колена (отметы) крепят двумя стременами.
 
        Отводы от воронок и выпускные колена выполняют из коротких звеньев труб, соединенных под углом 120о или 135о.
Выходное отверстие колена располагают над поверхностью земли не выше 400 мм.
Воронку водосточной трубы соединяют с лотком лежачим фальцем, для чего в обечайке воронки (верхняя часть кольца воронки) делают вырез шириной, соответствующей ширине лотка.
При изготовлении деталей водосточных труб из кровельной листовой стали выполняют:
- 
            разметку и резку листов по выбранным размерам; 
- 
            отгиб кромок и заготовку фальцев; 
- 
            выгибание кровельной стали по форме изделия и соединение в фальцы; 
- 
            соединение отдельных частей в изделия по заданной форме и сборка их (для колен, отливов и воронок); 
- 
            штамповку (при необходимости) кольцевых канавок жесткости из готовых звеньев водосточных труб при помощи вальцев с ручным приводом. 
2. Расход материалов.
- 
            Расход материалов (в килограммах) на изготовление деталей водосточных труб из кровельной листовой стали указан в таблице: Таблица 1. Расход материалов на изготовление деталей водосточных труб. Детали из кровельной листовой стали толщ. 0,5 мм Измеритель Трубы круглые диаметром - Трубы круглые диаметром 215 мм и прямоугольные 200х150 мм 110 мм 140 мм Звенья водосточных труб 1 м 1,66 2,16 3,25 Колена или отливы 1 м 1,78 2,39 3,75 Воронки 1 шт. 1,70 2,34 4,4 Лотки (желоба) 1 шт. 0,41 0,45 0,59 
- 
            В процессе навески водосточных труб выполняют: - 
                установку ухватов со сверлением электродрелью отверстий в стене и забивкой пробок; 
- 
                сборку и навеску водосточных труб, в т.ч. прямых звеньев труб, отводов, воронок с лотками, по установленным ухватам; 
- 
                крепление труб к ухватам, с фиксацией (зажимом) ухватов проволокой. 
 Внимание! 
 Покрывать карнизные спуски, выполнять навеску желобов, подвешивать водосточные воронки и трубы необходимо с подмостей, выпускных лесов или подвесных люлек.
- 
                
| Всего комментариев: 0 | |
 
  
  
      
 
                         
                         
                         
                         
                         
                         
                         
                         
                         
                         
                         
                         
                         
                        