Схемы
подключения канализации к сантехприборам
и к канализации в магистральный коллектор.
Сортамент труб и фасонных деталей
для безнапорной или самотечной канализации.
Варианты сборки раструбных соединений стояка и горизонтальных канализационных трубопроводов приведены ниже.
Таблица 1.
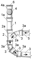
|  | Узел 1 - подключение выпуска канализации в магистральный коллектор: 
 | 
|  | Узел 2 - подключение стояка к выпуску канализации: 
 | 
|  | Узел 3 - подключение в подвале дома прочистки для трубопровода канализации: 
 | 
|  | Узел 4 - подключение отводящего горизонтального трубопровода канализации к стояку: 
 | 
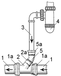
|  | Узел 5 - подключение к стояку подводящего горизонтального трубопровода канализации: 
 | 
|  | Узел 6 - стык трубопровода стояка канализации: 
 | 
|  | Узел 7 - стык трубопровода выпуска канализации: 
 | 
|  | Узел 8 - стык отводящего трубопровода канализации: 
 | 
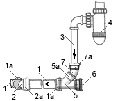
|  | Узел 9 - подключение невентилируемого стояка трубопровода канализации: 
 | 
|  | Узел 10 - подключение кухонной мойки к трубопроводу канализации: 
 | 
|  | Узел 11 - торцевое подключение раковины умывальника к трубопроводу канализации: 
 | 
|  | Узел 12 - подключение раковины умывальника к трубопроводу канализации: 
 | 
|  | Узел 13 - подключение раковины к трубопроводу канализации: 
 | 
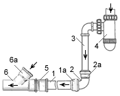
|  | Узел 14 - подключение унитаза к трубопроводу канализации: 
 | 
|  | Узел 15 - подключение унитаза к трубопроводу канализации: 
 | 
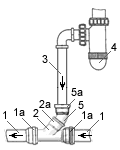
|  | Узел 16 - подключение ванны к трубопроводу канализации: 
 | 
- 
            1. Узлы подключения
 безнапорной или самотечной канализации.
для безнапорной или самотечной канализации.
Для безнапорной или самотечной канализации следует использовать трубы канализационного сортамента. Применение напорных труб должно быть обосновано.
Для безнапорной или самотечной канализации гладкие трубы унифицированы по наружным диаметрам, кроме труб из стекло- и базальтопластиков, изготавливаемых намоткой.Таблица 2.
- 
            Таблица сортамента
 труб и фасонных деталей (фитингов) из полипропилена
 для внутренних систем канализации.п/п Наименование 
 канализационных
 изделийРазмеры изделий в мм Диаметр 
 (D)Длина изделия 
 (L)Угол, 
 градусГрафическое изображение 1 2 3 4 5 6 1 Трубы с раструбом 40 2000; 1000; 750; 500; 250; 150; х  50 2000; 1000; 500; 300; х 110 2000; 1000; 500; 250; х 2 Отводы 40 х 45°; 67°; 87°  50/40 х 87° 50 х 30°; 45°; 67°; 87°; 90° 110 х 3 Тройники 40/32 х 45°; 87°  40/40 х 45°; 67°; 87° 50/40 х 45°; 87° 50/50 х 45°; 67°; 87°; 90° 110/40 х 45°; 87° 110/50 х 45°; 67°; 87°; 90° 110/110 х 45°; 67°; 87°; 90° 4 Переход 40/32 х х  50/32; 50/40 х х 72/50 х х 110/50; 124/110 х х 5 Муфты проходные 40 60 х  50 60 х 110 90; 170; 205; 245 х 6 Крестовина плоскостная 50/50/50 х 67°; 90°  110/50/50 х 67°; 87°; 90° 110/110/110 х 67°; 87°; 90° 7 Крестовина 2-х плоскостная 50/50/50 х 67°  110/50/50 х 67°; 87°; 90° 110/50/110 х 67°; 87°; 90° 110/110/50 х 67°; 90° 110/110/110 х 67°; 87°; 90° 8 Ревизии канализационные 50 х 90°  110 х 90° 9 Патрубок для унитаза 110 150 х  
Для отводов мойки, умывальника или ванны достаточно труб с внутренним диаметром dу=50 мм. Стояк и отвод от унитаза должны быть с внутренним диаметром dу=110 мм. Отводящие сети в канализационный колодец dу=110 мм.
При проведении работ по монтажу трубопроводов подлежат выбраковке:
a) все трубы, патрубки и фасонные части, имеющие сколы, трещины или надрезы;
b) фасонные части, имеющие внутренний облом с острыми кромками;
c) резиновые кольца и манжеты, имеющие разрывы, раковины и не удаленные частицы выпрессовки, а также кольца, в которых отсутствуют предусмотренные конструкцией пластмассовые распорные вкладыши;
d) металлические крепления, элементы которых имеют острые грани и заусенцы в местах сопряжения с трубами и фасонными частями.
ВНИМАНИЕ!
            Резиновые уплотнители, находившиеся при температуре ниже минус 25°С, должны быть выдержаны в течение 24 ч при температуре не ниже 15°С.
3. Транспортирование и хранение
канализационных труб и фасонных частей.
Канализационные трубы и фасонные части перевозят любым видом транспорта при соблюдении правил, действующих на данном виде транспорта.
Детали и узлы трубопроводов, а также санитарно-технические кабины и шахт-пакеты допускается перевозить при температуре до минус 20°С.
Погрузочно-разгрузочные работы, складирование и транспортирование укрупненных узлов, а также труб и фасонных частей производятся с соблюдением мер, исключающих возможность повреждения трубной продукции.
Трубы перевозят в пакетах, формирование которых осуществляется в соответствии с требованиями нормативных документов (паспортов на продукцию).
Перевозку фасонных частей и патрубков следует производить в контейнерах, ящиках или картонных коробах. Упаковка должна обеспечивать сохранность изделий и безопасность погрузочно-разгрузочных работ.
ВНИМАНИЕ!
            Пакеты труб, упаковки с патрубками и фасонными частями при разгрузке ЗАПРЕЩАЕТСЯ сбрасывать с транспортных средств. НЕ ДОПУСКАЕТСЯ перемещение труб и узлов волоком.
На каждое грузовое место крепится ярлык из картона или фанеры, содержащий наименование предприятия-изготовителя, условное обозначение изделия, номер партии и дату изготовления, количество изделий в упаковке (в штуках или в метрах), данные об упаковщике.
При упаковке в одну тару нескольких партий изделий число ярлыков должно быть равно количеству упакованных партий.
Поставка труб и фасонных частей, как правило, осуществляется с кольцами, вложенными в желобки раструбов.
Трубы и фасонные части следует хранить на горизонтальных площадках под навесами или на складах в условиях, исключающих воздействие солнечных лучей, деформации и ударных нагрузок, на расстоянии не менее 1 м от нагревательных приборов.
На складе допускается хранение фасонных частей без упаковки на стеллажах.
Рабочий персонал, осуществляющий перевозку и погрузочно-разгрузочные работы труб и укрупненных узлов, следует инструктировать о пониженной сопротивляемости полипропилена ударным и изгибающим нагрузкам (особенно при отрицательных температурах) и о необходимости осторожного обращения с ними в зимнее время.
Нужен ваш плюс статье!| Всего комментариев: 0 | |
 
  
  
      
 
                         
                         
                         
                         
                         
                         
                         
                         
                         
                         
                         
                         
                         
                        