смывных бачков для унитазов.
Принцип работы смывного бачка.
1. Типы смывных бачков к унитазам.
Смывные бачки, а также спускная арматура к ним, предназначены для промывки унитазов и напольных чаш, устанавливаемых в санитарных узлах, бытовых и др. помещениях зданий и сооружений различного назначения, при давлении воды в водопроводе до 1,0 МПа.
 
        Смывные бачки выпускают следующих типов:
- 
            Смывной бачок, устанавливаемый на унитазе с боковым или верхним пуском; 
- 
            Смывной бачок низкорасполагаемый, среднерасполагаемый и высокорасполагаемый с боковым пуском. 
Смывные бачки делят на три условных группы по высоте расположения их к унитазу:
- 
            БН- низкорасполагаемые (полочные) смывные бачки - устанавливаемые на унитазах; 
- 
            БС- среднерасполагаемые (навесные) смывные бачки - укрепляемые на стенена высоте не более 1-го метра; через подводящую трубу 
- 
            БВ- высорасполагаемые (навесные) смывные бачки - укрепляемые на стене через подводящую трубу на высоте до 2-х метров. 
Низкорасполагаемые и среднерасполагаемые смывные бачки устанавливают в жилых и общественных местах пользования туалетами. Высокорасполагаемые смывные бачки устанавливают в основном в общественных местах пользования туалетами.
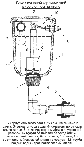
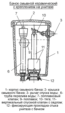
Низкорасполагаемые и среднерасполагаемые смывные бачки состоят из следующих деталей:
- 
            корпус (1) с крышкой (2); 
- 
            спускной клапан (11); 
- 
            поплавковый клапан (7); 
- 
            спускная арматура. 
Высокорасполагаемые смывные бачки состоят из следующих деталей:
- 
            корпус с крышкой; 
- 
            рычаг, который одним концом соединён с гибким сифоном, а другой - со спускной рукояткой (цепочкой). 
В конструкциях смывных бачков применяют следующие термины -
- 
            Арматура наполнительная - устройство, автоматически заполняющее определенным количеством воды смывной бачок после его опорожнения и герметически закрывающееся. 
- 
            Арматура спускная - устройство, приводимое в действие вручную или автоматически, обеспечивающее слив воды из смывного бачка в унитаз (напольную чашу). 
- 
            Бачок смывной - безнапорный, аккумулирующий воду резервуар, наполняемый автоматически из водопроводной сети и опорожняемый вручную или автоматически для обеспечения смыва унитаза (напольной чаши). 
- 
            Переливное устройство - устройство, отводящее из смывного бачка в унитаз воду при аварийном выходе из строя наполнительной арматуры. 
- 
            Полезный объем - количество воды, поступающее на смыв из бачка, заполненного до отметки на 20 мм ниже уровня перелива, при однократном воздействии на ручку пускового устройства продолжительностью не более 2 сек. при закрытой наполнительной арматуре. 
Наружный диаметр присоединяемого к унитазу конца смывной трубы не более 50 мм.
Размеры отверстий в корпусе бачка для присоединения наполнительной арматуры к трубе водопровода обеспечивают возможность крепления труб Dy=15 мм и менее.
Полезный объем бачков составляет не менее 6,0 л.
2. Принцип работы смывного бачка.
Принцип работы смывного бачка состоит в том, что при нажатии на ручку спускного рычага (3) тяга (10) поднимает вверх вертикальный спускной клапан (11), перекрывающий сток в переливную трубу (4), и вода поступает в унитаз.
Основное достоинство таких (смотри рисунки) смывных бачков в том, что вода поступает из бачка порциями - пока Вы держите открытым спускной клапан, поэтому лишней воды из бачка не протечет ни литра.

 
        Когда уровень воды в бачке опускается до определённого предела, то спускной клапан (11) опускается и перекрывает отверстие.
После того как рычаг (3) будет отпущен - вертикальный клапан (11) опуститься в седло и снова перекроет сливное отверстие из бачка в унитаз.
Одновременно поплавок (9) также опускается с кромкой воды и открывает поплавковый клапан (7) для подачи воды в бачок из водопровода (13).
Вода начнёт поступать в смывной бачок, пока не достигнет определённого уровня, который контролируется поплавком (9).
Поплавок поднимется по уровню поступившей воды и поплавковый клапан (7) перекроет поток воды из водопровода в бачок.
Принцип работы такого смывного бачка состоит в том, что при опускании спускной рукоятки вниз сифон наклоняется и через него вода поступает в унитаз через сливную трубу.
3. Установка и подключение смывных бачков.
Смывной бачок устанавливают и подключают после установки и подключения унитаза.
В нашем варианте смывного бачка подводка воды выполняется с боку - боковая подводка. Смывные бачки с боковой подводкой воды имеют наибольшее распространение из-за удобной компактной сетевой развязки.
Боковую подводку воды можно выполнить как жесткой линией водопровода (стальные или пластиковые трубы), так и гибкой подводкой - напорным шлангом с фиксирующими накидными гайками на концах.
|  |  | 
При сборке и установке навесного бачка унитаза выполняют следующее:
a) к установленному по месту и подключенному к канализации унитазу прикручивают смывную трубу бачка (4) соединив её с унитазом через муфту (6);
b) отмечают на стене места крепления бачка, предварительно соединив его со спускной трубой (4) через муфту (5);
c) бачок разъединяют с муфтой (5) и укрепляют на стене, затем снова прикручивают муфту (5) - теперь можно собирать внутренние детали бачка.
Для навесных бачков собирают внутренние детали:
- 
                привинчивают спускной механизм - рычаг спуска воды (3); 
- 
                вставляют седло и спускной вертикальный клапан с переливом (11); 
- 
                присоединяют рычаг спуска воды (3) к вертикальному клапану с переливом (11) через тягу (10); 
- 
                крепят муфтой через прокладку подводящую трубу (13) водопровода к бачку (1); 
- 
                прикручивают к муфте (13) поплавковый клапан (7); 
- 
                к клапану присоединяют скрутку (8); 
- 
                крепят поплавковый клапан (9) и регулируют скрутку поплавкового колена (8) под нужный угол - чем меньше угол наклона колена, тем выше уровень воды будет в бачке; 
- 
                регулируют седло (11) и подкручивают фиксирующую муфту (5) слива из бачка в унитаз. 

 
        Бачок унитаза устанавливается на полочку унитаза, прихватывается крепящими винтами и можно приступать к сборке деталей бачка. А можно сначала собрать детали бачка, а затем его установить на унитаз - поступайте по обстоятельствам, как Вам удобней работать.
Есть прокладки между бачком и полочкой унитаза, которые захватывают сразу три отверстия слива (смыва). Такие прокладки имеют овальную форму и их сначала промазывают с двух сторон силиконовым клеем. Соединяют (прихватывают болтами) через неё смывной бачок с полочкой унитаза. Выдерживают 15-20 минут, чтобы клей подсох и затем сливают воду и проверяют - просачивается вода межу бачком и полочкой или нет.
Если вода просачивается, то надо снять бачок и снова нанести клей в местах протечки. Обычно достаточно один раз нанести клей сплошной полоской с двух сторон по пазам прокладки.
Для бачков, монтируемых на унитазе, собирают внутренние детали:
- 
                подключают муфту подводки водопровода (13) к смывному бачку и прикручивают к муфте поплавковый клапан (7); 
- 
                вкручивают трубку перелива воды (6); 
- 
                привинчивают спускной механизм - рычаг спуска воды (3); 
- 
                вставляют седло и спускной вертикальный клапан (11); 
- 
                присоединяют рычаг спуска воды (3) к вертикальному клапану (11) через тягу (10); 
- 
                крепят поплавковый клапан (9) и регулируют скрутку поплавкового колена (8) под нужный угол - чем меньше угол наклона колена, тем выше уровень воды будет в бачке; 
- 
                устанавливают бачок (1) на полку унитаза и фиксируют перелив в седло (11); 
- 
                регулируют седло (11) и фиксируют прокладку (12) слива из бачка в унитаз; 
- 
                и закрепляют бачок фиксаторами (5) к унитазу. 
Важную роль в механизме смывного бачка играет поплавковый клапан (7), благодаря которому происходит автоматическое поступление и прекращение поступления воды в бачок.
Работа поплавкового клапана регулируется положением поплавка.
Уровень воды в бачке (чтобы поплавок не опускался низко и не цеплялся за другие детали) можно регулировать подгибанием или разгибанием скрутки (8) поплавкового колена. Для уменьшения количества воды в бачке (для экономии расхода воды) колено скруткиследует подогнуть в направлении дна сливного бачка. рычага с поплавком (9)
ВНИМАНИЕ!
            При выборе смывного бачка надо обратить внимание, что существует три вида поплавковых клапанов:
- 
                для сильного напора воды; 
- 
                для среднего напора воды 
- 
                и для слабого напора воды. 
В жилых домах обычно устанавливают поплавковые клапаны для низкого водяного давления.
ВНИМАНИЕ!
Если клапан рассчитан на слабый напор воды, то при условии высокого давления воды он будет пропускать воду даже в исправном состоянии.
Если в районе проживания водяное давление постоянно скачет, то рекомендуется устанавливать стабилизирующий поплавковый клапан. В таком клапане поршень имеет полую конструкцию со стабилизирующей камерой на конце.
Вода поступает по поршню в стабилизирующую камеру и тем самым уравновешивает давление воды с обеих сторон поршня.
 
        4. Указания по монтажу
На унитаз с цельноотлитой полочкой бачок прикрепляют болтами к полочке унитаза.
При монтаже бачка, смонтированного на отдельной полочке, резиновую манжету, находящуюся на патрубке полочки, надевают на раструб унитаза и после этого полочку прикрепляют к унитазу.
ВНИМАНИЕ!
При установке и закручивании к бачку седла под вертикальный спускной клапан (11) надо строго следить, чтобы седло не было перекошено, а вертикальный спускной клапан хорошо заходил в седло. В противном случае вода будет постоянно стекать в унитаз.
Обратите внимание, чтобы при сборке гайка перелива (6) была туго затянута. Иначе вода будет постоянно протекать в унитаз, а завернуть гайку позже можно будет только отсоединив бачок от полочки унитаза.
Поплавковый клапан должен полностью перекрывать поступление воды в бачок при достижении уровня на 20 мм ниже перелива.
Таблица 1.
| п/п | Тип бачка | Высота установки (от уровня пола до днища бачка), мм | Присоединение наполнительной арматуры к корпусу бачка | 
| 1 | 2 | 3 | 4 | 
| 1 | БУ- бачок смывной, непосредственно устанавливаемый на унитазе | определяется высотой унитаза | боковое или нижнее | 
| 2 | БН- бачок смывной низкорасполагаемый | до 650 | то же | 
| 3 | БС- бачок смывной среднерасполагаемый | от 650 до 900 | то же | 
| 4 | БВ- бачок смывной высокорасполагаемый | от 900 до 1900 | боковое | 
Бачки типов БН, БС, БВ в сборе со смывной трубой, бачок типа БУ в сборе с полочкой должны быть герметичны при открытой и закрытой спускной арматуре.
В комплект бачка должны входить:
- 
            корпус бачка с крышкой; 
- 
            комплект наполнительной арматуры; 
- 
            комплект спускной арматуры; 
- 
            гибкая подводка (по действующей технической документации); 
- 
            смывная труба (для бачков типов БН, БС и БВ); 
- 
            полочка по ГОСТ-22847 (для бачков типа БУ); 
- 
            паспорт, включающий техническое описание и инструкцию по монтажу и эксплуатации. 
Комплектность наполнительной и спускной арматуры указывается в технической документации на арматуру конкретного типа.
Спускная арматура для бачка типа БУ комплектуется прокладкой, устанавливаемой между бачком и полочкой, и арматурой крепления его к полочке.
Нужен ваш плюс статье!| Всего комментариев: 0 | |
 
  
  
      
 
                         
                         
                         
                         
                         
                         
                         
                         
                         
                         
                         
                         
                         
                        