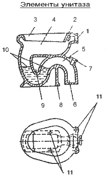
|  | Унитазы состоят из: 1 - отверстия для подачи промывочной воды - горловины унитаза; 2 - распределителя воды; 3 - смывающего венца или кольца, распределяющего воду по чаше унитаза; 4 - тарелки или чаши унитаза; 5 - канала к выпуску стоков из унитаза в канализационный трубопровод; 6 - выходного отверстия или выпуска; 7 - выпускного штуцера; 8 - постамента, служащего опорой унитаза; 9 - кармана, ребра жесткости унитаза; 10 - водяного затвора, служащего водяной пробкой для исключения попадания канализационных запахов в помещение; 11 - монтажных отверстий для крепления бачка к полу и крепления сидения и крышки унитаза. | 
Основные размеры унитазов по ГОСТ 30493-96 приведены в таблице 1.
Таблица 1.
| п/п | Виды унитазов | Н | h | h1 | L | l | l1 | В | b | 
| 1 | 2 | 3 | 4 | 5 | 6 | 7 | 8 | 9 | 10 | 
| 1 | С цельноотлитой полочкой | 370 и 400 | 320 и 350 | 150 | Не менее 605*) | - | - | 340 и 360 | 260 | 
| 2 | Без цельноотлитой полочки | 460 | 330 | 435 | |||||
| 3 | Детские | 335 | 285 | 130 | 405 | 280 | 380 | 290 | 210 | 
| *) По согласованию потребителя и изгнотовителя допускается изготавливать унитазы длиной 575 мм. | |||||||||
|  |  | 
|  | Для крепления унитазы имеют отверстия (два или четыре) - в унитазах, устанавливаемых в санитарных узлах бытовых помещений. 
 | 
- Установка и подключение унитазов.
 Крепление унитазов к полу.
- 1. Типы унитазов.
- 
            Используемые чаще всего керамические унитазы из фаянса, полуфарфора и фарфора выпускают нескольких видов. Наиболее простыми в установке являются унитазы с цельноотлитыми полочками, на которые непосредственно устанавливают и закрепляют смывные бачки.   
- 
            Выбор такого унитаза исключает дополнительное подключение сливной трубы между смывным бачком и унитазом. И позволяет устанавливать унитаз без закрепления смывного бачка на стене санузла. 
- 
            Унитазы выпускают следующих типов: 
 - тарельчатый с косым выпуском с цельноотлитой полочкой;
 - тарельчатый с прямым выпуском с цельноотлитой полочкой;
 - тарельчатый с косым выпуском без цельноотлитой полочки, в том числе детский;
 - тарельчатый с прямым выпуском без цельноотлитой полочки, в том числе детский;
 
 - козырьковый с косым выпуском с цельноотлитой полочкой;
 - козырьковый с косым выпуском без цельноотлитой полочки;
 
 - воронкообразный с прямым выпуском с цельноотлитой полочкой;
 - воронкообразный с косым выпуском с цельноотлитой полочкой;
 - воронкообразный с прямым выпуском без цельноотлитой полочки;
 - воронкообразный с косым выпуском без цельноотлитой полочки.
- 
            Так называемые "тарельчатые" унитазы (тип 1) изготавливают с навесными смывными бачками, которые укрепляют на стене туалетного помещения. 
- 
            "Тарельчатые" и "козырьковые" унитазы (тип 2…5), изготавливают с укреплением смывного бачка на задней полке унитаза. 
- 
            Подразделяют унитазы также в зависимости от направления и положения выпуска (4) канализационных стоков из унитаза. 
- 
            Выпуски бывают прямые и косые: a) унитазы с прямым выпуском (тип 2) имеют вертикальное соединение с канализационной трубой и требуют определенной (вертикальной) подводки канализационной трубы к унитазу; b) унитазы с косым выпуском (тип 1, 3…5) для подключения к канализационной трубе требуют дополнительный подвод канализационного выпуска (отвода) от унитаза к канализационной трубе. 
- 
            Козырьковые унитазы изготавливают только с косым выпуском. Тарельчатые унитазы изготавливают с прямым и косым выпуском. 
- 
            
- 2. Элементы унитаза.
- 3. Подключение унитазов к канализации.
- 
            Установку унитазов ещё различают и по способам подключения бачков к унитазам и подразделяют: - 
                на унитазы с цельноотлитой полочкой - бачок крепят на корпус унитаза; 
     - 
                и на унитазы без полочки - смывные бачки укрепляют на стене отдельно от унитаза, соединение бачка с унитазом выполняется через подводящую водоспускную трубу - в таком варианте для присоединения бачка через трубу используется манжета. 
     
- 
                
- 4. Указания по монтажу:
- 
            На унитаз с цельноотлитой полочкой бачок прикрепляют болтами к полочке унитаза. 
- 
            При монтаже бачка, смонтированного на отдельной полочке, резиновую манжету, находящуюся на патрубке полочки, надевают на раструб унитаза и после этого полочку прикрепляют к унитазу. 
- 
            Поплавковый клапан должен полностью перекрывать поступление воды в бачок при достижении уровня на 20 мм ниже перелива. 
- 
            При подключении унитаза к чугунной канализации керамический выпуск унитаза вместе с наружными канавками смазывают суриком и наматывают на него волокнистую льняную просмоленную прядь. 
- 
            Прядь накручивают так, чтобы она не доходила до конца выпуска, чтобы концы прядей не попали в отверстие выпуска и не забивали сток. Накрученную прядь для укрепления снова промазывают суриком. 
- 
            Затем устанавливают унитаз выпускным отверстием в раструб канализационного отвода. Раструб канализационного отверстия будем зачеканивать после укрепления унитаза к полу. 
- 
            Выпуск унитаза соединяют с трубопроводом диаметром 110 мм с помощью литьевого или формованного приборного патрубка (7) и резиновой манжеты. Использование патрубков требуемой длины позволяет регулировать расстояние от унитаза до оси канализационного стояка.   
- 
            Гладкий конец трубы (или хвостовика фасонной части) из ПП-труб диаметром 110 мм соединяется с раструбом детали чугунного трубопровода с помощью резинового уплотнительного кольца внутренним диаметром 106 мм и диаметром сечения 9 мм с последующим заполнением раструба расширяющимся цементом. Для таких соединений следует использовать чугунные детали без углублений и раковин на внутренней поверхности раструба. 
- 
            При отсутствии колец допускается применение соединений с заделкой раструба просмоленной прядью и расширяющимся цементом. Перед монтажом соединения наружная поверхность конца детали из ПП-труб на расстоянии, равном длине раструба, оплавляется и присыпается песком. Общая схема сборки унитаза -   
- 5. Крепление унитазов к полу.
- 
            Унитаз устанавливают в специально подготовленное место и крепят к полу после монтажа трубопроводов и подключения его к канализации. При этом надо учитывать, что зачеканку швов чугунных раструбов выполняют после крепления унитаза к полу, чтобы не нарушать швы зачеканки и не допустить протечки канализации. 
- 
            Крепление унитаза к полу выполняют в следующем порядке: 1) для унитазов, подключаемых к стальным (чугунным) трубам - 2) для унитазов, подключаемых к пластиковым трубопроводам - - 
                - 
                    после сборки (подключения) унитаза к канализации и водопроводу (но перед зачеканкой швов; 
 - 
                    после сборки (подключения) унитаза к пластиковым трубопроводам. 
 
- 
                    
 
- 
                
- 
            Унитазы крепят к полу разными способами в зависимости от покрытия пола, на которое устанавливается унитаз. На бетонное основание.
- 
            Для установки унитаза на бетонное основание используют цементный раствор в пропорции (частях) цемент + песок (1:2). Так называемую цементную подушку (толш.25-30 мм). Бетонное основание смачивают водой и на пластичном цементном растворе устанавливают унитаз. Излишки раствора обрезают по форме низа унитаза и дают раствору "схватиться". Садиться на такой унитаз можно только через сутки. На плиточное покрытие пола.
- 
            Для установки унитаза на плиточное покрытие пола используют клеящие составы такие как "Бустилат", "Бустилакс" или клеи на основе ПВА и эпосксидные клеи. Введение наполнителя в клей (мела или цемента) позволяет увеличить толщину клеящего слоя и тем самым обеспечить более плотное прилегание унитаза к основанию. Излишки клеящего состава также обрезают по периметру днища унитаза и удаляют. На деревянное покрытие пола.
- 
            Для установки унитаза на деревянное покрытие пола используют так называемую "тафту" - деревянную подложку под основание унитаза. В основании на внешней стороне по бокам унитаза есть отверстия под шурупы для крепления унитаза к деревянному полу. При этом надо учитывать, что если унитаз имеет прямой выпуск, то под него необходимо оставлять (вырезать) отверстие под канализационный сток. 
- 
            "Тафту" вырезают из доски толщиной 28-32 мм по форме опорной стойки унитаза и укрепляют на предварительно размеченном месте на полу. Чтобы не расколоть "тафту" её, как и унитаз крепят только шурупами. После укрепления "тафты" к полу на неё устанавливают унитаз и крепят его к "тафте" шурупами. 
- 
            Деревянную "тафту" можно заменить резиновой подложкой. Подложку вырезают из листовой резины толщиной 5-15 мм по периметру опорной стойки унитаза на 1-2 см меньше периметра, чтобы резина не выступала за край опорной части стойки. Такой подложкой может служить старый коврик для чистки подошвы обуви. Под шурупы в резине также вырезают отверстия, чтобы не затруднять привинчивание унитаза. И привинчивают шурупами унитаз вместе с подложкой к деревянному полу. 
- 
            Заворачивать шурупы надо так, чтобы не отколоть край отверстия под шуруп или не расколоть вовсе опорную часть унитаза - все-таки это керамика, а не металл. 
- 6. Основные размеры унитазов.
- 7. Сиденья унитазов.
- 
            Сиденья изготовляют: - 
                с прорезью в передней их части или без нее; 
- 
                пластмассовые сиденья изготовляют с крышками и без крышек; 
- 
                деревянные сиденья изготовляют без крышек. 
 
- 
                
- 
            Размеры сидений принимаются из условий полного перекрытия контуров смывного кольца унитазов не менее чем на 5 мм с внутренней и наружной сторон по всему очертанию смывного кольца унитазов, для которых сиденья предназначены. 
- 
            Сиденья и их крышки должны легко поворачиваться на осях арматуры крепления. 
- 
            Сиденье должно иметь не менее четырех резиновых или пластмассовых амортизаторов. 
- 
            Амортизаторы пластмассовых сидений могут быть выполнены как одно целое с сиденьями. 
- 
            Сиденья должны поставляются предприятием-изготовителем в комплекте с арматурой крепления. В состав комплекта входит: - 
                сиденье и арматура крепления его к унитазу в соответствии со сборочным чертежом комплекта рабочих чертежей. 
 Арматуру крепления сидений изготавливают из пластмассы, удовлетворяющей требованиям прочности. Болты и гайки арматурыдля комплектования унитазов с приставной полочкой, изготавливаю из латуни, для комплектования унитазов с цельнолитой полочкой и без полочки - из латуни или пластмассы любых видов крепления сидений, предназначенных для комплектования унитазов с приставной полочкой, изготавливают из латуни. 
- 
                
Нужен ваш плюс статье!
| Новинки статьи | В мастерской | Блог | |||||||||||||||||||||||||||||||||||||||||||||||||||||||||
| 
 
 
 
 
 
 | 
 
 
 
 
 
 | 
 
 Товары и услуги 
 
 
 
 
 
 | |||||||||||||||||||||||||||||||||||||||||||||||||||||||||
 
  
  
      
 
  
  
                         
                         
                         
                         
                         
                         
                         
                         
                         
                         
                         
                         
                         
                        